一: 安装
传感器的安装方式根据规格不同,采用螺纹或法兰连接,安装方式见图一、图二、图三,安装尺寸见表二。

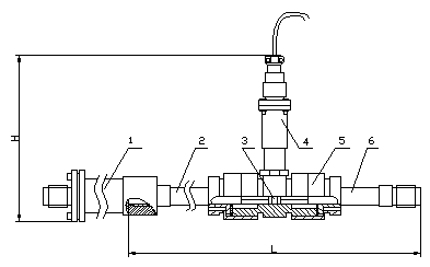
1.过滤器 2.前直管段 3.叶轮 4.前置放大器 5.壳体 6.后直管段
整表结构图

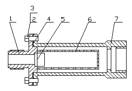
1. 压紧圈 2.螺栓4×14 3.垫圈 4.密封垫圈 5.钢丝1Cr18Ni9Ti-0.8×2.5 6.过滤网 7.座
过滤器结构图
图一 LWGY—4~10传感器结构及安装尺寸示意图

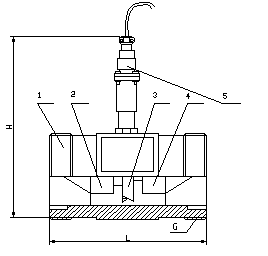
1.壳体 2.前导向件 3.叶轮 4.后导向件 5.前置放大器
图二 LWGY—15~40传感器结构及安装尺寸示意图

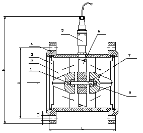
1.球轴承 2.前导向件 3.涨圈 4.壳体 5.前置放大器 6.叶轮 7.轴承 8.轴
图三 LWGY—50~200传感器结构及安装尺寸示意图

图四 传感器与显示仪表接线示意图
| 公称通径 (mm) | L(mm) | H(mm) | G | Lˊ(mm) | D(mm) | d(mm) | 孔数 |
LWGY-4 | 4 | 275 | 145 | G1/2 | 215 |
|
|
|
LWGY-6 | 6 | 275 | 145 | G1/2 | 215 |
|
|
|
LWGY-10 | 10 | 455 | 165 | G1/2 | 350 |
|
|
|
LWGY-15 | 15 | 75 | 173 | G1 |
|
|
|
|
LWGY-20 | 20 | 85 | 173 | G1 |
|
|
|
|
LWGY-25 | 25 | 100 | 173 | G5/4 |
|
|
|
|
LWGY-32 | 32 | 140 | 175 | G11/2 |
|
|
|
|
LWGY-40 | 40 | 140 | 178 | G2 |
| Ф110 | Ф18 | 4 |
LWGY-50 | 50 | 150 | 252 |
|
| Ф125 | Ф18 | 4 |
LWGY-65 | 65 | 180 | 278 |
|
| Ф145 | Ф18 | 4 |
LWGY-80 | 80 | 200 | 287 |
|
| Ф160 | Ф18 | 8 |
LWGY-100 | 100 | 220 | 322 |
|
| Ф180 | Ф18 | 8 |
LWGY-125 | 125 | 250 | 347 |
|
| Ф210 | Ф18 | 8 |
LWGY-150 | 150 | 300 | 367 |
|
| Ф250 | Ф22 | 8 |
LWGY-200 | 200 | 360 | 415 |
|
| Ф295 | Ф22 | 12 |
传感器可水平、垂直安装,垂直安装时流体方向必须向上。液体应充满管道,不得有气泡。安装时,液体流动方向应与传感器外壳上指示流向的箭头方向一致。传感器上游端至少应有20倍公称通径长度的直管段,下游端应不少于5倍公称通径的直管段,其内壁应光滑清洁,无凹痕、积垢和起皮等缺陷。传感器的管道轴心应与相邻管道轴心对准,连接密封用的垫圈不得深入管道内腔。
传感器应远离外界电场、磁场,必要时应采取有效的屏蔽措施,以避免外来干扰。
为了检修时不致影响液体的正常输送,建议在传感器的安装处,安装旁通管道。
传感器露天安装时,请做好放大器及插头的防水处理。传感器与显示仪表的接线如图四所示。
当流体中含有杂质时,应加装过滤器,过滤器网目根据流量杂质情况而定,一般为20~60目。当流体中混有游离气体时,应加装消气器。整个管道系统都应良好密封。
用户应充分了解被测介质的腐蚀情况,严防传感器受腐蚀。
二:使用和调整
◆ 使用时,应保持被测液体清洁,不含纤维和颗粒等杂质。
◆ 传感器在开始使用时,应先将传感器内缓慢的充满液体,然后再开启出口阀门,
严禁传感器处于无液体状态时受到高速流体的冲击。
◆ 传感器的维护周期一般为半年。检修清洗时,请注意勿损伤测量腔内的零件,特
别是叶轮。装配时请看好导向件及叶轮的位置关系。
◆ 传感器不用时,应清洗内部液体,且在传感器两端加上防护套,防止尘垢进入,
然后置于干燥处保存。
◆ 配用时的过滤器应定期清洗,不用时,应清洗内部的液体,同传感器一样,加防尘套,置于干燥处保存。
◆ 传感器的传输电缆可架空或埋地敷设(埋地时应套上铁管。)
◆ 在传感器安装前,先与显示仪表或示波器接好连线,通电源,用口吹或手拨叶轮,使其快速旋转观察有无显示,当有显示时再安装传感器。若无显示,应检查有关各部分,排除故障。
选购流量计就选淄博沃森测控科技有限公司,我们将竭诚为您服务!